CPM253 223变送器 pH ORP基
CPM253/223变送器+ pH/ORP基本调试
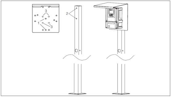
1安装
CPM253共有3种安装方式,如下:
1.1墙式安装

位置1的两个06孔用螺钉固定在墙上。 出厂时这两个孔用色堵头(位置2 )堵住。
1.2管道安装

可使用竖直或水平管道安装。安装时使用变送器后面的四个M5螺孔(位置2 ) , 管道最大直径为060
1.3气候防护安装

注:管道安装需要额外订购安装附件,气候防护罩
需作为附件单独订购。变送器如果安装在室外露天环境,建议选用气候防护罩以保护仪表。
1.4传感器安装
对于绝大多数的pH传感器,安装的水平倾斜角必须至少达到15°,禁止将传感器倒装。IsFET传感器和CPS71(D)-BU传感器除外。

A允许安装倾斜角
B严禁安装倾斜角
2接线
2.1连接模拟传感器

1)把随机提供的对应接线图贴到接线端子上。
2)绿、白、黄三根温度线分别连接11 , 12 , 13号端子。
3)标准模拟传感器(使用CPK9电缆) : 同轴线的芯线和黑色屏蔽线分别代表测量和参比信号, 分别连接"pH"和"REF”端子;棕色等电势线连接到
“PA/PM”端子。
4) IsFET模拟传感器(使用CPK12电缆) :同轴线的
芯线和色屏蔽线分别代表测量和参比信号,分别
连接"SRC"和"REF” 端子,红线连接DRN端
子;棕色等电势线连接到"PA/PM” 端子。
5)玻璃传感器电缆的外屏蔽接到"S"端子; IsFET
传感器电缆的外屏蔽接到PE端子, PE端子接地。
6)标记"NC"和未标记的端子不接。
7) 220VAC电源接到L1和N端子; 24VDC电源接到+和-端子。
8)第一路电流输出( pH )接到31、32端子,第二
路电流输出(温度,可选)接到33、34端子。电流.
输出为有源输出。
2.2连接Memosens数字传感器

1)把随机提供的对应接线图贴到接线端子上。
2)棕、白、绿、黄四根电缆线分别连接到87 , 88 , 96 , 97号端子。
3)标记"NC"和未标记的端子不接。
4) 220VAC电源接到L1和N端子; 24VDC电源接到+和-端子。
5)第-路电流输出(pH )接到31、32端子,第二路电流输出(温度,可选)接到33、34端子。电流输出为有源输出。
注:须保证所有的缆塞拧紧、密封。
3按键功能
3.1基本按键功能描述
在任何菜单位置选续同用时按“。”..” 健将返丽上能菜单,最终返回制最调面。昌在测景业面连桃按“+"键,切换不同的显承程式。王在测显环面连续搜-*键。值次显示前业牌代四及其青复。巨在测量业血按“巴"团。输入塑码22.进人设置票单(可读今》。电源箱出将进入“保持"状影。输入甘22的密,进入设置高单(具读)。电话输出不进入一保搏”状好。回在河量政面按“CAL"键。输入密前22.进入标起需单, 电消输出将“保料”。J出如果15分钟内没有任何核健操作,用变送器自动从设置菜单返目制最涯面。
[点击图片放大]
3.2键盘锁定和解锁
同时按“+"锄和“E"键3以上颁定钧盘。所有设置只读。樂码始终显示0990不可修改。明同时按“CAL"键和“_"键3s以上:解领键盘。密码显示0.
[点击图片放大]
3.3继电器操作
在满量画面使用AUTO键切换维电器“自动模式”“和“手动模式”。郾在“1动模式”"下按REL健切搞小同的谁电器,核“r健收合继电器,校”一健断开非电器. CP在“自动模式”下拨REL键读取维电能动的设定点成院位点。按-+-键切快到分一个谁电器,核REL健返回测量画面。
[点击图片放大]
友情链接
服务范围
工业自动化产品专业代理,品质保证
技术领先,价格优势,报价迅速,产品全面
技术选型,产品报价,销售安装,工程售后,为您提供工业自动化一站式服务
自动化专业销售
Tel. 19925440503(微信同号) WhatsApp: +86 18576429229
联系工程师
扫码添加WhatsApp
