CLM253 223变送器-电导率基本调
CLM253/223变送器+电导率基本调试
1安裝.
CLM253共有3种安装方式,如下:
1.1墙式安装
位置1的两个06孔用螺钉固定在墙上。出厂时这两个孔用黑色堵头(位置2 )堵住。

[点击图片放大]
1.2管道安装
可使用竖直或水平管道安装。安装时使用变送器后面的四个M5螺孔(位置2) ,管道最大直径为060。

[点击图片放大]
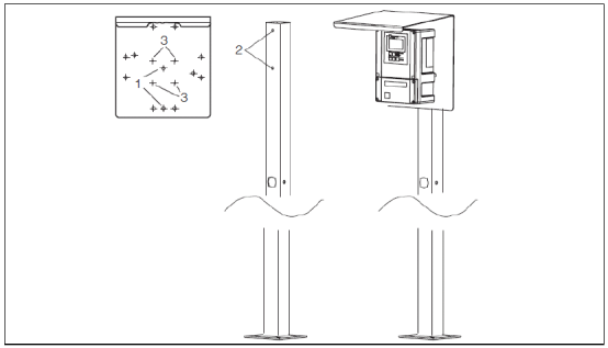
1.3气候防护罩安装

[点击图片放大]
注:管道安装需要额外订购安装附件,气候防护罩需作为附件单独订购。变送器如果安装在室外露天环境,建议选用气候防护罩以保护仪表。
2接线
2.1连接模拟传感器

[点击图片放大]
1)把随机提供的对应接线图贴到接线端子上。
2)绿、白、黄三根温度线分别连接11 , 12 , 13号端子。
3)电导式传感器测量信号连接83(主线)、84(附线)端子。电感式传感器测量信号红蓝色(线色线芯色)线接83端子,红-红色线接16端子,白-蓝色线接84端子,白红色线接15端子。
4)电导式传感器电缆的外屏蔽接到"PE”端子,电感式传感器电缆的外屏蔽接到"S”端子。
5)标记"NC"和未标记的端子不接。
6) 220VAC电源接到L1和N端子; 24VDC电源接到+和-端子。
7)第一路电流输出(电导率)接到31、32端子,第二路电流输出(温度,可选)接到33、34端子。电流输出为有源输出。
2.2连接Memosens数字传感器

[点击图片放大]
1)把随机提供的对应接线图贴到接线端子上。
2)棕、白、绿、黄四根电缆线分别连接到87 , 88, 96 , 97号端子。
3)标记"NC"和未标记的端子不接。
4) 220VAC电源接到L 1和N端子; 24VDC电源接到+和-端子。
5)第一路电流输出(电导率)接到31、32端子,第二路电流输出(温度,可选)接到33、34端子。电流输出为有源输出。
注:须保证所有的缆塞拧紧、密封。
3按键功能
3.1基本按键功能描述

[点击图片放大]
3.2键盘锁定和解锁

[点击图片放大]
3.2键盘锁定和解锁

[点击图片放大]
4设置
4.1传感器设置
找到传感器出厂的标定证书。按"E"键,输入密码"22”。在"SETUP1"菜单下的“A5"菜单,输入标定证书上的电极常数。

[点击图片放大]
4.2量程设置
在"Current Output"菜单下,设置4 - 20mA对应
量程。在O1中选择电流输出通道,仪表双通道输出时有OUT1、OUT2选择, 单通道输出时直接进入下项。OUT1作为电导率的电流输出; OUT2作为温度的电流输出。

[点击图片放大]
4.3变送器复位
在"Service"菜单下的“S9" 菜单,选择"Facty" 复位变送器。

[点击图片放大]
5标定
5.1空气标定(仅限电感式传感器)
标定开始前先将传感器从介质中取出,清洗擦干。按“CAL”键,输入密码"22”。在"Calibration"菜单下完成标定。
1)进入"C1" 菜单,选择第-个选项,即空气标定。
2)进入"C111” 菜单,观察其在空气中的测量值,按“E”键确认后开始标定。
3)进入"C112” 菜单,查看空气标定的数值。
4) "C113” 菜单将显示标定是否通过。
5) "C114” 菜单选择是否保存标定数据,还是放弃,还是重新标定。
5.2电极常数标定
按“CAL”键,输入密码"22”。在"Calibration”菜单下完成标定。
1)进入"C1" 菜单,选择第二个选项,即电极常数标定。
2)进入"C121" 和"C122” 菜单,输入标定时的参考温度(出厂默认25°C )和温度补偿系数(出厂默认2.1%/K )。
3)进入"C123" 菜单,输入标定液的电导率值,按键确认后开始标定。入“C124" 菜单,观察标定后的电极常数,将此数值记下。
5) "C125” 菜单将显示标定是否通过。
6) "C126”菜单选择是否保存标定数据,还是放弃,还是重新标定。
6常见故障代码

[点击图片放大]
友情链接
服务范围
工业自动化产品专业代理,品质保证
技术领先,价格优势,报价迅速,产品全面
技术选型,产品报价,销售安装,工程售后,为您提供工业自动化一站式服务
自动化专业销售
Tel. 19925440503(微信同号) WhatsApp: +86 18576429229
联系工程师
扫码添加WhatsApp
