CM42变送器 pH ORP基本调试
CM42变送器+ pH/ORP基本调试
1安装
CM42共有4种安装方式,如下:
1.1水平管道安装

1.2竖直管道安装

注:水平和竖直管道安装需要额外订购安装附件。
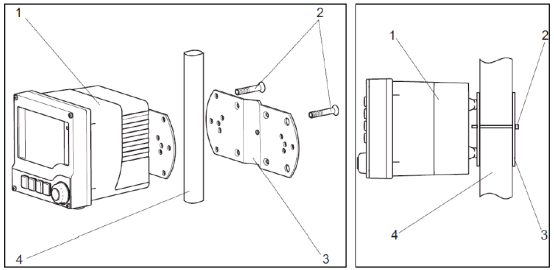
1.3墙式安装(可选气候防护罩)

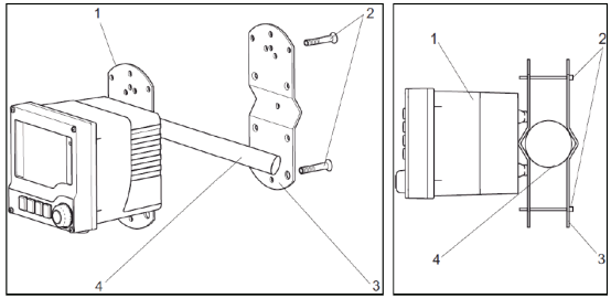
1.4盘装

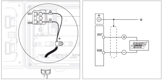
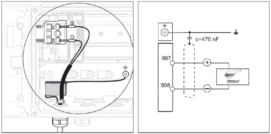
2接线
注:按照下图进行塑料外壳接地以及电缆接地。

2.1电源/信号接线
2.1 - 路电流输出和两路电流输出(可选)

注:供电电压容许范围是12.5 to 30 VDC。
2.1.2 Foundation Fieldbus和Profibus PA总线接线共有如下三种方式可选。



注:供电电压容许范围是9 to 32 V DC。
2.2传感器接线
2.2.1标准模拟传感器接线(使用CPK9电缆)

1)绿、白、黄三根温度线分别连接112 , 113 , 111号端子。
2)同轴线的芯线和黑色屏蔽线分别代表测量和参比信号,分别连接317和318端子;棕色等电势线连接到320端子。
3)传感器电缆屏蔽层需接地。
2.2.2 IsFET模拟传感器接线(使用CPK12电缆)

1)绿、白、黄三根温度线分别连接112,113,111号端子。
2)司轴线的芯线和黑色屏蔽线分别代表测量和参比信号,分别连接315和318端子,红线连接316端子;棕色等电势线连接到320端子。
3)传感器电缆屏蔽层需接地。
2.2.3 Memosens数字传感器接线

1)棕、白、绿、黄四根电缆线分别连接到187,188 , 197 , 198号端子。
2)传感器电缆屏蔽层需接地。
注:须保证所有的缆塞拧紧、密封。
3按键功能
按下软键:直接选择菜单

旋转浏览器:在菜单中移动光标

按下浏览器:选择功能

旋转浏览器:改变数值

按下浏览键:接受新数值

4设置
4.1量程设置
在“测量参数/电流输出”菜单下设置“起始值”和“终值"。具体菜单位置如下:

4.2标准液设置
如果用户使用E + H原装标准液则无需修改出厂默认设置;否则需进入菜单“测量参数/传感器模块/标定设置/缓冲液确认”, 把出厂默认设置“固定”修改为"手动”, 并在菜单“测量参数/传感器模块/标定设置/标准液x"中输入两个标准液的pH值。
4.3变送器复位
在“诊断/维修服务/出厂默认设置”菜单下选择"出厂默认设置”, 设备进行重启,并且所有设置都复位为出厂设置。
5标定
进入"标定”菜单,选择选择“2点标定”按照菜单提示完成标定。主要步骤如下:
1)把传感器放到校准液1中开始第一个点标定 ,显示”运行”
2)把传感器从校准液1中取出并用水清洗。
3)把传感器放到校准液2中开始第二个点标定,显示“运行'
4)标定成功后显示斜率和零点,显示标定是否有效。选择"存储数据以作修整”或"丢弃数据”。
6常见故障代码
送器持续进行自我监控。如果设备检测到错误,就会亮起红色报警发光二级管。可以在"诊断/ 错误信息"菜单中读取有关错误的信息。示例如下:

7维护传感器.
1)定期清洗pH传感器,清洗间隔视工况而定建议方法如下:传感器有油膜黏附,使用适当的去污剂清除,例如酒精,丙酮等。石灰或金属氢氧化物黏附,使用3%稀盐酸溶解后再使用清水冲洗干净。硫化物黏附(脱烟气或污水处理厂) , 使用3%稀盐酸和硫脲的混合液清洗后再使用水冲干净。蛋白质黏附(食品行业) , 使用0.5%稀盐酸和饱胃蛋白酶的混合液清洗后再使用水冲干净。若参比传感器的膜片阻塞,使用锁孔锉去除阻塞物。(不适用于CPS11和CPS91传感器)。使用软刷清除ORP铂环上的污染,使用软布清除ORP金针上的污染。ORP传感器严禁使用化学清洗液。
2)定期两点标定pH传感器,标定间隔视工况而定。
3) pH传感器不允许长期暴露在空气中,需湿润保存。长时间干燥后,建议放在pH= 7的标准液或3mol/I的饱和KCI中1天以上,激活传感器。
友情链接
服务范围
工业自动化产品专业代理,品质保证
技术领先,价格优势,报价迅速,产品全面
技术选型,产品报价,销售安装,工程售后,为您提供工业自动化一站式服务
自动化专业销售
Tel. 19925440503(微信同号) WhatsApp: +86 18576429229
联系工程师
扫码添加WhatsApp
