7F2C涡街流量计

7F2C是一款通用型多功能流量计,配备湿蒸汽检测功能,具有最高测量精度。理特别适合湿蒸汽/饱和蒸汽/过热蒸汽、气体和液 体(以及低温介质)的测量。并对蒸汽测量进行了一些优化,提升了测量精度。
7F2C这款流量计,压力传感器的安装比较灵活,显示魔窟具有数据传输的功能,还通过了多项国际认证,并且外壳是双腔室,坚固耐用安全性高。该设备集成度高内置蒸汽与气体的温度、压力测量装置,且自带直管段补偿功能,可以节约一些空间。还是线性度最高的涡街流量计,在雷诺数不低于Re10000时,测量精度始终不变。设备的接线也是非常的方便,并且操作起来也是非常的安全。还带有心跳检验功能。
下面我们来介绍一些,该款涡街流量计的测量原理,基于卡门涡街原理(Karman vortex street)进行测量。流体通过挡体时,两侧会交替 出现漩涡,且两侧漩涡的旋转方向相反。每个漩涡会产生一个低压区, 传感器检测压力变化并转 换成电脉冲信号。在流量计的允许量程范围内,漩涡规则生成。因此,漩涡频率与体积流量成比例关系。如图为涡街流量计测量原理示意图。

标定系数为比例常数,其值为脉冲除以体积单位。在流量计允许量程范围内,K系数仅取决于流量计的几何结构。主要的测量信号与流量成线性关系,出厂前会通过标定确定K系数,因此不会存在长期漂移或零点漂移。该设备没有移动部件,不需要维护。
涡街流量计采用电容式传感器,通过了Burst 测试、抗振测试、抗温度冲击测试(150 K/s热冲击)。测量性能、可靠性以及结构稳定性都能够得到一定程度上的保障。
该流量计通过Pt 1000温度传感器测量温度。温度传感器安装在DSC传感器轴上,因此直接接接触被测液。
在体积流量的测量上,DSC传感器与测量管的材质可以选择316L或者是Alloy C22合金,并且还能够耐高温。在质量流量测量上,还内置了温度测量,也就是温度补偿。
值得注意的是仅HART型仪表的传感器类型可以选择选项质量流量,内置压力/温度测量。选择选型代号蒸汽质量流量或气体/液体质量流量。选择此选项的测量设备可以测量流体的压力和温度。该流量计可以直接在接近仪表中挡体的位置处进行压力测量。选择的取压点位置应能够同时测量压力和温度。保证基 于压力和温度进行高精度流体密度和/或能量补偿。压力测量值略微小于管道压力。因此, Endress+Hauser 提供管道压力校正(设备自带)。
重新标定后的测量设备仍具有高稳定性,与出厂标定完全一致。重新标定后的参数 值均在流量计的指定测量精度范围内。适用体积流量测量值,即设备的主要测量变量。
前直管段长度校正功能能够缩短所需前直管段长度,只需保证前直管段长度不小于10 × DN即 可。如果前直管段长度太短,流量计可以校正由此产生的测量误差,但与上游管道中安装的节流 装置对流场形态的改变程度相关。
测量设备能够计算空气和工业气体的密度和能量。基于实践验证的标准计算方法计算。可以通过 外部值或恒定值自动补偿压力和温度效应。并且可以测量单一、混合以及空气等。还可以计算天然气的化学属性,如总热值、净热值等。
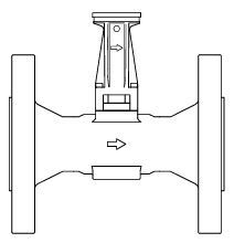
一个设备由一台变送器和一个传感器组成,一体化型是变送器和传感器组成一个整体机械单元。 分离型是变送器和传感器分开安装。下面是变送器与传感器的示意图。

变送器

传感器
变送器与传感器的选择也有很多种,这里不在赘述。
友情链接
服务范围
工业自动化产品专业代理,品质保证
技术领先,价格优势,报价迅速,产品全面
技术选型,产品报价,销售安装,工程售后,为您提供工业自动化一站式服务
自动化专业销售
Tel. 19925440503(微信同号) WhatsApp: +86 18576429229
联系工程师
扫码添加WhatsApp
