Promass 100 200 300 500安装
Promass 100/200/300/500安装
一、安装位置
测量管中发生气泡积聚现象时,会增大测量误差。因此,请避免在管道中的下列位置处安装:
1 )管道的最高点
2 )直接安装在向下排空管道的上方

[点击图片放大]
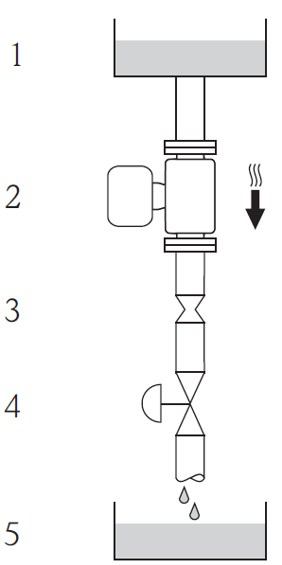
垧下排空管道中安装
此外,在向下排空管道中安装流量计时,建议安装节流孔板或- -段缩径管,防止测量过程中出现空管。在向下排空管道中安装(例如:批量应用场合)

[点击图片放大]
1供料罐
2传感器
3节流孔板.
4阀门
5计量罐
2.安装方向
参考传感器铭牌_上的箭头指向进行安装.务必确保箭头指向与管道中介质的流向一致。

[点击图片放大]
带弯测量管的传感器水平放置时,传感器的安装位置必须与流体特性相匹配。

[点击图片放大]
1测最含固流体时.请避免此安装方向:存在固体积聚的风险
2测晶含气流体时.请避免此安装方向:存在气体积聚的风险
3.前后直管段
质量流量计只要不存在气穴现象只, 均无需考虑接头的前后直管段长度。例如:阀门、弯头或三通。

[点击图片放大]
4.环境和过程的要求
4.1环境温度的范围

[点击图片放大]
如果安装在室外,避免阳光直射,特别是在温暖气候环境中。
4.2系统压力
重要的是气穴现象的发生,或者液体中夹带气体不能除气。
如果压力损失低于闪蒸气压力时,气穴现象就会产生:
1 )在液体中有一些低沸点的介质(例如:碳氢化合物,溶剂,液化气)
2 )在虹吸管线上确保系统压力足够高,以防止气穴和脱气出于这个原因,建议以下安装位置:
1 )垂直管道的最低点
2 )泵的下游(无真空的危险)

[点击图片放大]
5.特殊安装指南-爆破片
在仪表的安装过程中,务必确保爆破片未被损坏。爆破片上方有粘贴标签,标识爆破片位置。爆破片使用后,标签被损坏。因此,可以目视监测爆破片。

[点击图片放大]
1爆破片标签21/2' NPT内螺纹,1' 对角宽的爆破片3运输保护帽6.零点校正所有测量设备均在世界上最先进的标定装置上进行严格的出厂标定。标定在参考操作条件下进行,因此,通常无需进行现场零点校正!根据现场应用经验,只有在特定应用场合下才建议进行零点校正:
1 )极小流量的极高精度测量
2 )在极端过程条件或操作条件下(例如:极高过程温度或极高粘度的流体)
友情链接
服务范围
工业自动化产品专业代理,品质保证
技术领先,价格优势,报价迅速,产品全面
技术选型,产品报价,销售安装,工程售后,为您提供工业自动化一站式服务
自动化专业销售
Tel. 19925440503(微信同号) WhatsApp: +86 18576429229
联系工程师
扫码添加WhatsApp
